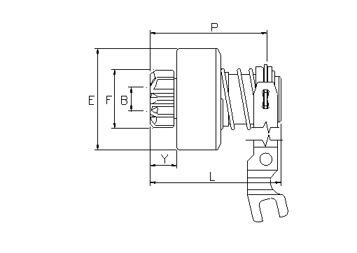
STARTER DRIVE MARIO 3156

MARIO

3156

130 lei

Indisponibil

Intrebari si neclaritati

Daca aveti neclaritati in privinta produsului, va rugam contactati-ne !

Inainte de a comanda, va rugam cititi sectiunea cum cumpar .